bg
en
Затвори
Отвори
Добавени продукти за сравнение
Compare
Clear
Няма нищо в сравнение...
Затвори
Отвори
Вашите любими продукти
Clear
Няма нищо в любими...
Search
Телефон за поръчки:
Sinks
kitchen sinks
granite sinks
Sinks - For Countertop
Sinks - Board
Sinks - Granite
bathroom sinks
plastic sinks
BOARDS
Accessories for Sinks
Siphons for sinks
Taps
Kitchen Appliances
for Bathroom
Headphones SHOWER
Shower Sets
for the Garden and Yard
Gold Series
Hose - HOSE SHOWER
stop valves
Bathroom Accessories
DISPENSERS
Colander & BASKETS
mechanisms
Mechanisms Kitchen
Garbage - BUILT
Drainers - BUILT
Mech. Kitchen Appliances
Tees for BUILD
Rigging
SYSTEM BAR
Delimiter
Drainers - standing
The mounting cups OVER BAR
Rack system Zobal
Holder under the sink
Water-proof strip
Connectors TOP
Plinths and strips
MAT
Dispensers for incorporation
Cutting boards
Kitchen accessories
strainer
Accessories for bathroom
Mechanisms Embed
Accessories for wardrobe
Mech. Wardrobe
Mechanisms Lockers
sistems Zobal
MECHANISMS - CABINETS FOR SHOES
BEDROOM
Mechanisms of beds
Mattress frames
Mech. sliding Doors
Brushes for sliding doors
Tensioners for sliding doors
LIVING ROOM
Accessories for living
Hinge for Folding Tables
Legs Coffee tables
Accessories for Office
Profiles
Plinths and strips
CONNECTORS FOR PLATE
Profiles for LED strips
KANT HANDLES
elbow
SOCKETS
SLIDES
Profiles
Front board
COUPLING strips
Aluminium Doors
BARS
Rack system Zobal
dekoraztif
Fittings
Furniture Hinges
Loops / Accessories
Hinge with damper / Accessories
Hinges Push / Accessories
Hinges AL. PROFILES
Hinges for Glass / Accessories
knobs and Handles
hangers
Drawer
Furniture Legs
Stickers Furniture
Wooden legs for furniture
casters
Furniture Locks / Locks
scissors
Shock
Brackets and Hangers
Connecting Elements
caps for screws
Hardware for Doors
SCREWS
Plates and angles
Tools
Tapes
Silicones and Adhesives
supplies
Tools
Lights
Lights for furniture
Power: supply for lighting
Profiles for LED Strips
Аppliances
Aspirator for incorporation
Aspirator WALL
Hobs Built
Ovens
Microwave Ovens
Dish washers
VENTILATING
BARS
Меню
Sinks
Taps
Bathroom Accessories
DISPENSERS
Colander & BASKETS
mechanisms
Mechanisms Kitchen
Accessories for bathroom
Accessories for wardrobe
BEDROOM
Mech. sliding Doors
LIVING ROOM
Accessories for Office
Profiles
Plinths and strips
CONNECTORS FOR PLATE
Profiles for LED strips
KANT HANDLES
elbow
SOCKETS
SLIDES
Profiles
Front board
COUPLING strips
Aluminium Doors
BARS
Rack system Zobal
dekoraztif
Fittings
Furniture Hinges
knobs and Handles
hangers
Drawer
Furniture Legs
casters
Furniture Locks / Locks
scissors
Shock
Brackets and Hangers
Connecting Elements
caps for screws
Hardware for Doors
SCREWS
Plates and angles
Tools
Tapes
Silicones and Adhesives
supplies
Lights
Lights for furniture
Power: supply for lighting
Profiles for LED Strips
Аppliances
Aspirator for incorporation
Aspirator WALL
Hobs Built
Ovens
Microwave Ovens
Dish washers
VENTILATING
BARS
Затвори
Home
/
mechanisms
/
Mechanisms Kitchen
/
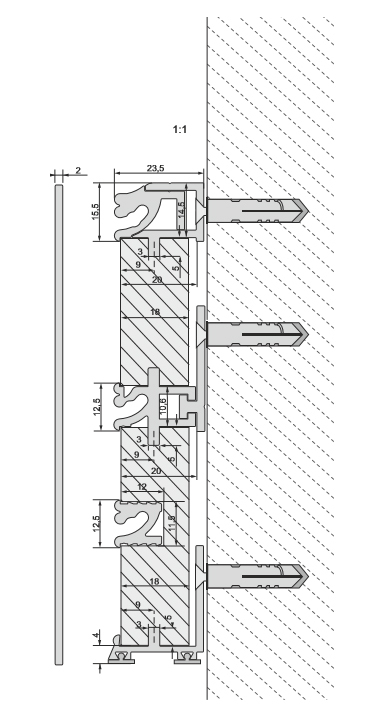
Rack system Zobal
1
2
3
4
5
рейтинг
4
Availability:
In stock
Арт. №:
nr 031 019 05
size
3.50 m
35 BGN
Добави в количката
Добави в любими
Премахни от любими
Compare
Compare
Related products
Similar products
16.50 BGN
78.20 BGN
16.60 BGN
10.30 BGN
Comments
No results found
Product comments
Name
Phone
Email
Captcha*
Content
Content
Newsletter
Email*
Shipping
Terms of Use
Payment Methods
About us
Онлайн магазин от Exsitee
up